产品列表 / products
无菌医疗器械是指产品上没有存活的微生物,是医疗器械制造企业以无菌状态提供的医疗器械产品,是医疗机构、公众不需要进行灭菌而直接使用的无菌医疗器械产品。无菌医疗器械的无菌不是绝对的,只是把微生物存活概率减少到规定限度。当前无菌医疗器械的灭菌概率标准规定为10-6,即百万分之一。(国家重点监管医疗器械目录见文末附件)
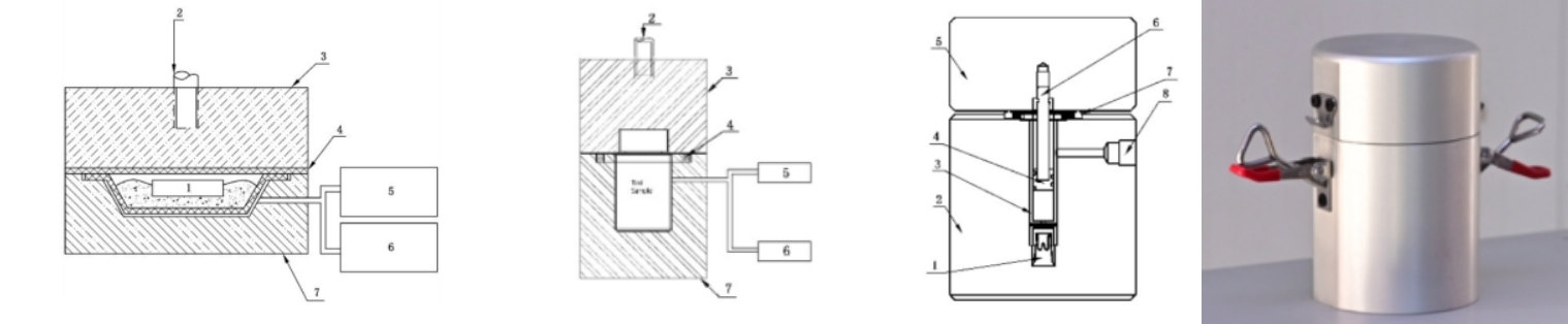
医疗器械包装中的泄漏可能导致不需要的气体(最通常的是氧气),有害的微生物或颗粒污染物侵入。包装泄漏可能表现为存在于包装组件自身或包装组件间的密封接合处所存在的缺陷。确保包装的一致性和完整性是泄漏检测所必需具有的能力。
真空衰减法应用于医疗器械包装、器械或组件的检验中,从而为产品质量提供更高的保证。这一检验技术适用于硬质和半硬质无盖托盘、有透气屏障盖材的托盘或托杯、非透气硬包装、非透气软包装,还可以推广到有密封要求的腔形“医疗器械(如注射器)”和“组件”密封性检验。
试验依据参考标准:
YY/T 0681.18-2020无菌医疗器械包装试验方法 第18部分:用真空衰减法无损检验包装泄漏Test methods for sterile medical device package--Part 18 : Nondestructive detection of leaks in packages by vacuum decay method
试验设备原理:
将微泄露密封性测试仪主机连接到一个特别设计用来容纳需要被测试的包装物的测试腔内。仪器对测试腔进行抽真空,包装物内外形成压力差,在压力的作用下包装物内气体通过漏孔扩散至测试腔内,高精度传感器检测时间和压力的变化关系,与标准值进行比较,判断试样是否泄漏。
试样制备:
试样无需进行特殊制备工序
试验设备:

真空衰减法密封试验仪VDL 测试腔
真空衰减泄漏测试仪器包括一个连接到真空衰减测试系统的测试腔和一个体积气流计。
校准与保养:
1、 仪器在投入测试前应经校准。压力传感器、所有可用的真空源压力表以及休积气流计都应进行校准。
2、 选择并安装适合于被测包装大小的测试腔。对测试腔进行任何必要的调整,以确保当测试腔处于闭合位时测试腔的盖(上腔体)足以对下包装腔(下腔体)形成气密。
3、 宜对仪器测试系统进行泄漏测试,以验证其具有稳定的基线泄漏率。至少每日一次或多次,最好是在每班次开工前进行。
4、 检查真空源的性能。
5、 应为每个包装/测试夹具组合设置临界测试参数。
6、 应使用较大数量的无泄漏对照包装样品优化临界测试参数。
7、 用无泄漏对照测试包装和一台经校准的体积气流计测定优化后的泄漏测试的灵敏度。
试验结果:
1、 预测试真空,用秒为单位;
2、 储备真空、目标真空、参考真空以 mbar 或 Pa 为单位,可用正的绝压单位,也可用相对于大气压力的负压单位(真空);
3、 参考抽真空时间、平衡时间、测试时间,以秒为单位;
4、 参考真空衰减接受/拒收限值,以 Pa/s 或 Pa 为单位,可用正绝压单位来描述允许的压力增加,也可以用负压为单位(真空)来描述允许的真空损失;
5、 以接受/拒绝作为测试结果。
点关注定期分享检测试验方案,一起来聊聊在试验中学习到的小知识吧!
文末附件:国家重点监管医疗器械目录
一、一次性使用输血、输液、注射用医疗器械
1.一次性使用无菌注射器(含自毁式、胰岛素注射、高压造影用);
2.一次性使用无菌注射针(含牙科、注射笔用);
3.一次性使用输液器(含精密、避光、压力输液等各型式);
4.一次性使用静脉输液针;
5.一次性使用静脉留置针;
6.一次性使用真空采血器;
7.一次性使用输血器;
8.一次性使用塑料血袋;
9.一次性使用麻醉穿刺包。
二、植入材料和人工器官类医疗器械
1.普通骨科植入物(含金属、无机、聚合物等材料的板、钉、针、棒、丝、填充、修复材料等);
2.脊柱内固定器材;
3.人工关节;
4.人工晶体;
5.血管支架(含动静脉及颅内等中枢及外周血管用支架);
6.心脏缺损修补/封堵器械;
7.人工心脏瓣膜;
8.血管吻合器械(含血管吻合器、动脉瘤夹);
9.组织填充材料(含乳房、整形及眼科填充等)。
三、同种异体医疗器械
四、动物源医疗器械
五、计划生育用医疗器械
1.宫内节育器;
2.避孕套(含天然胶乳橡胶和人工合成材料)。
六、体外循环及血液处理医疗器械
1.人工心肺设备辅助装置(含接触血液的管路、滤器等);
2.血液净化用器具(含接触血液的管路、过滤/透析/吸附器械);
3.透析粉、透析液;
4.氧合器;
5.人工心肺设备;
6.血液净化用设备。
七、循环系统介入医疗器械
1.血管内造影导管;
2.球囊扩张导管;
3.中心静脉导管;
4.外周血管套管;
5.动静脉介入导丝、鞘管;
6.血管内封堵器械(含封堵器、栓塞栓子、微球)。
八、高风险体外诊断试剂
1.人间传染高致病性病原微生物(第三、四类危害)检测相关的试剂;
2.与血型、组织配型相关的试剂。
九、其他
1.角膜接触镜(含角膜塑形镜);
2.医用可吸收缝线;
3.婴儿保育设备(含各类培养箱、抢救台);
4.麻醉机/麻醉呼吸机;
5.生命支持用呼吸机;
6.除颤仪;
7.心脏起搏器;
8.医用防护口罩、防护服;
9.一次性使用非电驱动式输注泵;
10.电驱动式输注泵。